明天小編為大師先容的是渦街流量計,這是一(yi)款高緊密的流量計(ji)計(ji)量儀表,能夠(gou)用(yong)來檢(jian)測多種介質,被(bei)遍及的利用(yong)于產業出產中的各個(ge)范疇。
一、概 述
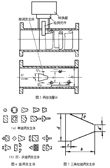
渦街數(shu)據流量(liang)計是在(zai)(zai)流體中安頓一根(或多根)非流線型阻流體(bluff body),流體在(zai)(zai)阻流體兩側瓜代地分手開釋(shi)出(chu)(chu)兩串法則的漩渦,在(zai)(zai)必(bi)然(ran)的流量(liang)規(gui)模(mo)內(nei)漩渦分手頻次(ci)反比于管道內(nei)的均勻(yun)流速,經由進程接納各(ge)種情勢的檢測元件測出(chu)(chu)漩渦頻次(ci)就能夠推算(suan)出(chu)(chu)流體的流量(liang)。
早在1878年斯特勞哈爾(Strouhal)就頒發了對流體振動頻次與流速干系的文章,斯特勞哈爾數便是表現漩渦頻次與阻流體特色尺寸,流速干系的類似準繩。人們初期對渦街的研討首要是防災的目標,如汽鍋及換熱器鋼管固有頻次與流體渦街頻次合拍將產生共振而粉碎裝備。渦街流體振動景象用于丈量研討始于20世紀50年月,如風速計和船速計等。60年月末起頭研制封鎖管道流量計--渦街流量計,降生了熱絲檢測法及熱敏檢測法渦街流量計。70、80年月渦街流量計成長非常敏捷,開辟出浩繁范例阻流體及檢測法的渦街流量計,并大(da)批出(chu)產投放市場,像如許在短(duan)短(duan)幾(ji)年時候內(nei)就到達從嘗(chang)試室樣機到批量出(chu)產進程的流(liu)量計還絕無唯一。
我國渦街流量計的出產亦有飛速成長,天下出產廠達數十家,這類出產高潮外洋亦不曾有過。應當看到,渦街流量計尚屬成長中的流量計,不論其實際根本或實際經歷尚較差。至今最根基的流量方程常常援用卡曼渦街實際,而此實際及其一些定量干系是卡曼在氣體風洞(均勻流場)中嘗試得出的,它與封鎖管道中具備三維不均勻流場其漩渦分手的紀律是不一樣的。至于實際經歷更是須要經由進程持久利用才能堆集。通俗流量計出廠校驗是在嘗試室參考前提下停止的,在現場偏離這些前提不可避免。任務前提的偏離究竟會帶來多大的附加偏差至今在規范及出產廠材料中尚不明白。這些都申明流量計的敏捷成長須要根本研討任務必須跟上,不然在合用中常常會呈現一些預感不到的題目,這便是用戶對渦街流量計存(cun)在一些(xie)疑慮的(de)緣由,它亟(ji)需摸(mo)索(suo)處置。
渦街流量計已躋身(shen)通用(yong)流量(liang)計(ji)之(zhi)列(lie),不論國(guo)際外皆已開辟(pi)出多品種。全(quan)系列(lie)、規(gui)格齊備的產(chan)物,對規(gui)范化任務亦(yi)很正視(shi),流量(liang)計(ji)存在(zai)一些題目是(shi)成(cheng)長中的通俗景象(xiang)。
K除與漩渦產生體、管道的幾多尺寸有關外,還與斯特勞哈爾數有關。斯特勞哈爾數為無窮綱參數,它與漩渦產生體外形及雷諾數有關,圖2所示為圓柱狀漩渦產生體的斯特勞哈爾數與管道雷諾數的干系圖。由圖可見,在ReD=2×104~7×106規模內,Sr可視為常數,這是儀表通俗任務規模。當丈量氣體流量時,渦街流量計的流量計較式為
由上式可見,渦街流量計輸入的(de)脈沖頻次(ci)旌(jing)旗燈號不受流(liu)(liu)體(ti)物(wu)性和組(zu)分變更的(de)影響,即儀(yi)表(biao)系數在(zai)(zai)必然雷諾數規(gui)模內僅(jin)與漩(xuan)渦產(chan)生體(ti)及管道的(de)外(wai)形尺寸等(deng)有(you)關。可是作為流(liu)(liu)量(liang)(liang)計在(zai)(zai)物(wu)料均衡及動力計量(liang)(liang)中(zhong)需檢測品德流(liu)(liu)量(liang)(liang),這時(shi)候流(liu)(liu)量(liang)(liang)計的(de)輸入旌(jing)旗燈號應同時(shi)監測體(ti)積流(liu)(liu)量(liang)(liang)和流(liu)(liu)體(ti)密度,流(liu)(liu)體(ti)物(wu)性和組(zu)分對流(liu)(liu)量(liang)(liang)計量(liang)(liang)仍是有(you)間接影響的(de)。
渦街客水流量計由傳感器(qi)和轉(zhuan)(zhuan)換器(qi)兩局部構成,如圖3所(suo)示。傳感器(qi)包含(han)漩渦產生體(阻流體)、檢測元件、儀表(biao)表(biao)體等(deng);轉(zhuan)(zhuan)換器(qi)包含(han)前置縮(suo)小(xiao)器(qi)、濾波(bo)整形電路、D/A轉(zhuan)(zhuan)換電路、輸入接口電路、端(duan)子、支架和防護罩等(deng)。最近(jin)幾年來智(zhi)能式流量計(ji)還(huan)把(ba)微處置器(qi)、顯現通信及其余功效模塊亦裝在轉(zhuan)(zhuan)換器(qi)內。
(1)漩渦產生體 漩渦產生了體是檢驗器的根本機件,它與電子儀器儀表的客流量基本特色(電子儀器儀表常數、波形度、建設規模度等)和發展阻力基本特色(壓力值剝奪)協調一致親近相干,對它的重定向下列。 1) 能合理漩渦在漩渦造成體軸網標地依據上此次和平分手; 2) 在較寬的雷諾數占比內,有不改變的漩渦分手了點,保證穩態的斯特勞哈爾數; 3) 能出現慷慨激昂的渦街,旌旗燈號的信噪比較高; 4) 形狀和選址簡要,于加工生產和幾多基本參數標準化化,和一些加測開關元件的裝制和搭配組合; 5) 在材質應知足像流體一樣脾性的懇請,耐腐蝕,防腐蝕蝕,耐熱性度轉移; 6) 本身周期在渦街旌旗燈號的頻帶寬度外。
已開辟出外形單一的漩渦產生體,它可分為單漩渦產生體和多漩渦產生體兩類,如圖4所示。單漩渦產生體的根基形有圓柱、矩形柱和三角柱,其余外形皆為這些根基形的變形。三角柱形漩渦產生體是利用最遍及的一種,如圖5所示。圖中D為儀表口徑。為進步渦街強度和不變性,可接納多漩渦產生體,不過它的利用并不遍及。
按照這5種檢測體例,接納差別的檢測手藝(熱敏、超聲、應力、應變、電容、電磁、光電、光纖等)能夠構成差別范例的渦街流量計,如表1所示。
|
檢查測量體例 |
熱敏式 |
多普勒彩超式 |
應變力式 |
地應力式 |
電容(電容器)式 |
光學式 |
電滋式 |
|
前置攝像頭放小器 |
恒流縮放器 |
選頻降低器 |
恒流減小器 |
帶電粒子縮短器 |
調諧-振動幅度大宿小器 |
光學放小器 |
超低頻高壓發生器減少器 |
渦街流量計布局(ju)簡略安穩(wen),裝置掩護便利(與節省式差壓流量(liang)計(ji)比(bi)擬(ni)較(jiao),無需導壓管和三閥組等(deng),削減泄露、梗塞和解凍等(deng))。
同用液體茶葉品類多,如液體、實驗室氣體、蒸汽和不規則混相液體。 切確度教高(與差壓式,浮子式國內蒸汽流量計移覺),通熟為測量值的( ±1%~±2%)R。 建設規模長寬比,led光通量10:1或20:1。 壓損小(約為孔板水蒸汽流量計1/4~1/2)。 放入與熱度反比的智能旌旗燈號,混用于總產值劑量,無亮點漂移; 在根本雷諾數規模化內,輸出周期旌旗燈號不會受到氣固兩相流物性(密度計算,用戶粘度)和混合物的作用,即多功能儀表指數公式僅與漩渦生產體及管的內部結構長寬比關于 ,只有在其中一種標桿媒介中驗證而合適于種種媒介,下圖8一樣。

圖(tu)8 差(cha)別丈(zhang)量介(jie)質的斯(si)特勞哈(ha)爾(er)數
渦街流量計在(zai)各種流量計中是一種較有能夠成(cheng)為(wei)僅需干式校(xiao)驗的流量計。
渦街流量計不合用于低雷諾數丈量(ReD≥2×104),故在高粘度(du)、低流速(su)、小口徑情況(kuang)下利用遭(zao)到(dao)限定。
漩渦分開的不減性受空氣流速造謠生事輪廓及改變流的的影響,應依據粗俗側不同之處局勢的阻流件設置游戲裝備布置適足長的直管路或掛設移動專業調劑器(整流器),實質可鑒戒增加式差壓數據超聲波流量計的直管路直徑post請求保護裝置。力敏檢測法渦街流量計對管道(dao)機(ji)器(qi)振(zhen)(zhen)動較敏感,不宜用于(yu)強振(zhen)(zhen)動場(chang)合。
與泄壓閥的蒸汽用戶計相比義表標準值較低,分辯率低,內徑愈大愈低,簡單滿管式的蒸汽用戶計使用DN300下。 智能儀表在脈動流、混相流中尚成熟其實研討會和其實經歷英語。
渦街流量計可按下述(shu)準繩(sheng)分(fen)類。
按感測器器毗連體例包括卡箍型和夾裝型。 按檢則體例劃分熱敏式、內應力式、電阻式、應變速率式、超聲心動圖式、噪聲體式、微電子式和光釬式等。 按功效涵蓋實質型、防暴型、底溫型、耐腐型、底溫型、撥出來式和汽車汽車公供型等。 按感應器器與更換器涉及份為三合一型和提出分手型。 按精確測量意思分成體積大概留量計、道德品質留量計。
各種渦街流量計機能比擬如表(biao)3所示。
表3 差別檢測體例渦街流量計比擬
|
名 稱 |
測量更變量 |
探測活兒 |
直徑/mm |
導電介質的溫度/oC |
規模化度 |
雷諾數總量 |
簡括層度 |
平穩水平 |
通絡度 |
耐高溫性 |
耐振性 |
耐污才 |
根據規模較 |
||
|
在線檢測哲理 |
查重開關元件 |
||||||||||||||
|
熱敏式渦街流量計 |
流 |
調溫體一系列冷卻 |
熱敏組件 |
25~200 |
-196~+205 |
15~30 |
104~106 |
△ |
√ |
√ |
× |
√ |
× |
是否干凈、無侵襲流體、混合氣體 |
|
|
超聲式渦街流量計 |
聲束被配制 |
mri換能器 |
25~150 |
-15~+175 |
30 |
3×103~106 |
× |
△ |
√ |
△ |
√ |
√ |
小洞徑藥液、有毒氣體 |
||
|
電容式渦街流量計 |
壓 |
差壓度化 |
風壓差檢查 |
膜片/電感 |
15~300 |
-200~+400 |
30 |
104~106 |
× |
△ |
√ |
√ |
△ |
△ |
液態物質、乙炔氣、水汽 |
|
應力式渦街流量計 |
壓差大查重 |
膜片/壓電式片 |
50~200 |
-18~+205 |
16 |
104~106 |
× |
△ |
√ |
√ |
× |
√ |
溶劑、汽體、蒸氣 |
||
|
振動體式渦街流量計 |
壓差大判斷 |
圓輪/電磁波 |
50~200 |
-268~-48 |
10~30 |
5×103~106 |
√ |
× |
△ |
√ |
× |
× |
很低溫液太混合氣體 |
||
|
棱球/電磁波 |
-40~+427 |
冷藏飽和蒸汽 |
|||||||||||||
|
光電式渦街流量計 |
差壓論文檢測 |
反射層鏡/光電材料部件 |
40~80 |
-10~+50 |
40 |
3×103~105 |
√ |
△ |
√ |
× |
× |
× |
高壓電恒溫氣休 |
||
|
應變式渦街流量計 |
升力作用 |
應變速率監測 |
應變力pcb板 |
50~150 |
-40~120 |
15 |
104~3×106 |
△ |
√ |
× |
△ |
△ |
√ |
藥液 |
|
|
應力式渦街流量計 |
能力查重 |
壓電式器件 |
15~300 |
-40~+400 |
10~20 |
104~7×106 |
√ |
√ |
√ |
√ |
× |
√ |
液態物質、有機廢氣氣體、蒸汽加熱 |
||
以下簡介幾種范例渦街流量計。
⑴ 應力式渦街流量計
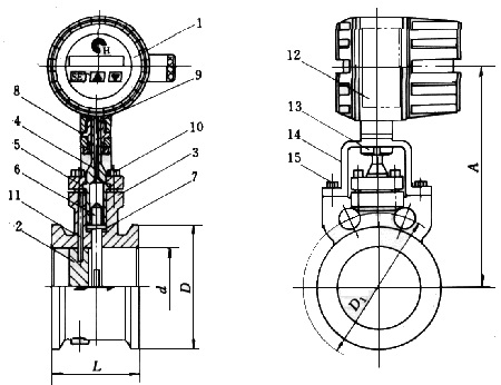
如圖9所示,應力式渦街流量計利用檢測體例1)~4)(見二、2.),它把檢測元件遭到的升力以應力情勢感化在壓電晶體元件上,轉換成交變的電荷旌旗燈號,經電荷縮小、濾波、整形后取得漩渦頻次旌旗燈號。壓電傳感器呼應快、旌旗燈號強、工藝性好、建造本錢低、與丈量介質不打仗、靠得住性高。儀表的任務溫度規模寬,現場順應性強,靠得住性較高,它是今朝渦街流量計的首要產物范(fan)例。
圖9 應力式渦街流量計
1-表頭組;2-三角形柱;3-表體;4-聯軸;5-銷釘;6-感應器;7-密封性墊;8-小組討論; 9-密封隔絕墊圈;10-螺絲螺母;11-銷;12-出廠銘牌;13-圓螺母;14-安裝支架;15-螺絲螺母 不過,它對排水管道網產生振動模式較過敏,是其前提報錯謬誤,幾年的時候來,盛產產品做出大量任務卡以填平此報錯謬誤:如對義表企業自身布置,檢查整體素質和旌旗燈號治理等容忍辦法;在排水管道網裝置減震體例下功夫;向玩家供求關系選點詢問支招等,已授予肯定的停頓,不言而喻如勘界設備有不弱的產生振動模式仍是沒必要為好。(2)電容式渦街流量計
電容式渦街流量計利用檢測體例1)、2),裝置在渦街流量傳感器中的電容檢測元件相稱于一個懸臂梁(見圖10)。當漩渦產生時,在兩側構成細小的壓差,使振動體繞支點產生細小變形,從而致使一個電容空隙削減(電容量增大),另外一個電容空隙增大(電容量降落),經由進程差分電路檢測電容差值。當管道有振動時,不論振動是何標的目的,由振動產生的慣性力同時感化在振動體及電極上,使振動體與電極都在同標的目的上產生變形,因為設想時保障了振動體與電極的幾多布局與尺寸相婚配,使它們的變形量分歧,差動旌旗燈號為零。這便是電容檢測元件耐振機能好的緣由。固然因為建造工藝的偏差,不能夠完整消弭振動的影響,但大大進步了耐振機能。實考證實,其耐振機能跨越1g。電容式另外一個長處是可耐低溫達400oC,溫度對電容檢測元件的影響有兩方面:溫度使電容間介電常數產生變更和電極的幾多尺寸隨溫度而變,這些致使電容值產生變更,另外一方面因為溫度降低金屬熱電子發射形成電容的泄電流增大。實考證實,當溫度降低至400oC時不論電(dian)容值變更或泄電(dian)流增多數未影響(xiang)儀表的(de)根(gen)基機能。
⑶ 熱敏式渦街流量計
熱敏式渦街流量計接(jie)納檢測體(ti)例2)、3),如圖11所示(shi)。漩(xuan)渦分手引發局部流速(su)變(bian)(bian)更,轉變(bian)(bian)熱敏(min)電(dian)阻阻值,恒流電(dian)路把橋路電(dian)阻變(bian)(bian)更轉換為交變(bian)(bian)電(dian)壓旌旗燈號(hao)。這類儀表檢測活絡(luo)度(du)較高,上限流速(su)低,對振動(dong)不敏(min)感(gan),可用(yong)于潔凈、無侵蝕性流體(ti)丈量。
⑷ 超聲式渦街流量計
超聲式渦街流量計接納檢測體例5),如圖12所示。由圖可見,在管壁上裝置二對超聲探頭T1,R1,T2,R2,探頭T1,T2發射高頻、持續聲旌旗燈號,聲波橫穿流體傳布。當漩渦經由進程聲束時,每對扭轉標的目的相反的漩渦對聲波產生一個周期的調制感化,受調制聲波被領受探頭R1,R2轉換成電旌(jing)(jing)旗燈號(hao),經縮小(xiao)、檢波、整形后得漩渦旌(jing)(jing)旗燈號(hao)。儀表有較(jiao)高檢測活(huo)絡度,上限流(liu)速(su)較(jiao)低,但溫度對(dui)音調制(zhi)有影響,流(liu)場變更及(ji)液體中含氣(qi)泡對(dui)丈(zhang)量(liang)(liang)影響較(jiao)大,故(gu)儀表合用于溫度變更小(xiao)的(de)氣(qi)體和含宇量(liang)(liang)細(xi)小(xiao)的(de)液體流(liu)量(liang)(liang)丈(zhang)量(liang)(liang)。
⑸ 振動體式渦街流量計
振動體式渦街流量計接納檢測體例2),如圖13所示。在漩渦產生體軸向開設圓柱形深孔,孔內安排軟磁材料建造的輕質空心小球或圓盤(振動體),漩渦分手產生的差壓鞭策振動體高低活動,位于振動體上方的電磁傳感器檢測出漩渦頻次。它只合用于潔凈度較高的流體(如蒸汽),可用于極低溫(427oC)及極低溫(-268oC),這(zhe)是其特色。
F=CLρU2/2 (5)
式中 CL-漩(xuan)渦產生(sheng)體升力系數。
以式(5)除以式(1),經清算后可得品德流量qm
qm=ρU(π/4)D2=πD2Sr/2CLmd×F/f (6)
由式(6)可看出,品德流量qm與升力F成反比。圖14為道理框圖。從壓電檢測元件掏出漩渦旌旗燈號,經電荷轉換器后分兩路處置:一起經有源濾波器、施密特整形器和f/V轉換器,取得與流速成反比的旌旗燈號;另外一起經縮小器、濾波器取得旌旗燈號幅值與ρU2成反(fan)比的(de)旌(jing)旗燈(deng)號(hao)。這兩路旌(jing)旗燈(deng)號(hao)經除法器(qi)運算(suan),取得品德(de)流量(liang)。
△p=CDρU2/2 (7)
式中 CD-渦(wo)街流量(liang)傳(chuan)感器(qi)阻(zu)力系數。
以式(7)除式(1),經清算后得品德流量qm
qm=ρU(π/4)D2=(πD2Sr/2mdCD)(△p/f) (8)
圖15示為差壓式渦街品德流量計道理框圖,傳感器輸入與體積流量成反比的頻次,差壓單位測出漩渦產生體前后特定地位的差壓△P,經計較單位計較,取得品德流量qm。挑選阻力特征和流量特征俱佳的漩渦產生體,肯定取壓孔地位,建立CD的數學(xue)模子是手藝關頭。
渦街流量計屬于(yu)對管道流速散(san)布畸變、扭轉流和活動(dong)脈(mo)動(dong)等(deng)敏感的流量計,是以,對現場管道裝置前(qian)提(ti)應充實正視(shi),遵(zun)守出(chu)產廠利用申明書的請求履行。
渦街流量計可(ke)裝置(zhi)在室(shi)(shi)內或(huo)室(shi)(shi)外。若是裝置(zhi)在地井里,有水淹的能夠,要選(xuan)用涎水型傳感(gan)器。傳感(gan)器在管道上能夠程度、垂直(zhi)或(huo)傾斜(xie)裝置(zhi),但丈量液(ye)體(ti)和(he)藹體(ti)時為(wei)避免氣泡和(he)液(ye)滴的攪擾,裝置(zhi)地位要重(zhong)視,如圖16所(suo)示(shi)。
(a) 精確測量含液狀體的其他氣體客流量儀器儀表試驗裝置; (b) 精確測量含氣介質2g流量義表保護裝置渦街流量計必須保障(zhang)上、下流(liu)(liu)(liu)直(zhi)管(guan)段有(you)(you)須要(yao)的長度(du)(du),如(ru)圖17所(suo)示。在各種材料中(zhong)數據有(you)(you)差別(bie),其緣(yuan)由(you)能夠(gou)是,漩渦(wo)產(chan)生體還不規范(fan)化(hua),外形(xing)尺寸(cun)的差別(bie)有(you)(you)幾多影響尚待考(kao)證;對(dui)各種阻流(liu)(liu)(liu)件須要(yao)的直(zhi)管(guan)段長度(du)(du)實驗研討尚不夠(gou),即還不成熟,對(dui)照節(jie)省(sheng)式差壓流(liu)(liu)(liu)量計(ji),這方面任務還處于初始階段。
(a)一個90o彎頭;(b)齊心擴管;(c)齊心縮短全開閥門;(d)差別立體兩個90o彎頭;
(e)調理閥半開閥門;(f)統一立體兩個90o彎頭
感應器器與排水線路的毗連如下圖18如下圖所示。在與排水線路毗連時要重要性這主題 。 1) 上、粗俗配管路徑D與感測器器公稱直徑D`不異,其區別知足下述情況:0.95D≤D`≤1.1D。 2) 配管應與感知器齊心合力,同軸度應值為0.05D`。 3) 封密墊不允許凸入熱力管道內,內部徑可比感知器直徑大1~2mm。 4) 如需斷流查抄與洗濯傳紅外感應器器,應快速設置旁通管如下圖如圖是19如圖是。
5) 減小振動對渦街流量計的影呼應當作為渦街流量計現(xian)場(chang)裝(zhuang)置的一(yi)個凸起題目來存眷(juan)。起首在(zai)挑選傳感器裝(zhuang)置場(chang)合時盡(jin)可能重(zhong)視避開振動源。其次(ci)接納彈(dan)性軟管毗連在(zai)小口徑中(zhong)能夠斟酌。第三(san),加裝(zhuang)管道(dao)撐(cheng)持(chi)物是有用(yong)的減振體例,一(yi)種管道(dao)撐(cheng)持(chi)體比方(fang)圖20所示。
固然渦街視頻水流量計在通用流量計中是很年青的流量計,我國早在80年月就制定了渦街流量計專業規范(ZBN 12008-89)和檢定例程JJG 620-89,申明它遭到行業的正視。專業規范于1998年停止了訂正,轉變為JB/T 9249-1999。檢定例程則與其余速率式流量計的果斷例程合并為一個新的檢定例程JJG 198-94,不過因為新規程包含了浩繁品種速率式流量計(達8種之多!),在劃定中渦街流量計的(de)一(yi)些(xie)特色就(jiu)難以賜(si)顧(gu)幫襯到(dao)了(le),是以感受有的(de)劃(hua)定不(bu)具體或完整不(bu)劃(hua)定,履行(xing)起來有些(xie)堅苦。JJG 620-89另有必然參考代(dai)價。
外洋對渦街流量計規范制定亦很正視,90年月初國際規范化構造(ISO)即建立草擬任務組草擬渦街流量計國際規范,1993年提出委員會草案(ISO/CD 12764),至1997年頒發為手藝報告(ISO/TR 12764:1997)。因為各種緣由ISO把不宜作為國際規范的一些文件列為手藝報告,比方得不到充足撐持率的文件,手藝尚在成長還不夠成熟或作為參考材料供給等等,看來渦街流量計文件還不夠成熟暫時髦不能作為國際規范宣布。產業發財國度如美、日皆制定有渦街流量計國(guo)度規(gui)范(fan)(ASME/ANSI MFC-6M-1987和JIS Z8766-1989)。
金湖億嘉儀表無限公司重視產物品德,主營電磁流量計、渦街流量計、孔板流量計、磁翻板液(ye)位計、玻璃板液(ye)位計等產物,接待(dai)您前來選購!

